لا تتوقف شركة تويوتا اليابانية عن إدهاشنا خصوصاً وأنها تهتم بسلامة السائق والركاب متى تواجدوا داخل سياراتها على الطرقات، إذ أظهر مكتب براءات الاختراع والعلامات التجارية في الولايات المتحدة الأمريكية أن تويوتا تريد تسجيل براءة اختراع لنوع جديد من عجلة القيادة. تريد شركة صناعة السيارات اليابانية أن يتم تحذير السائق بشأن مخاطر الطريق أثناء القيادة ولكنها تريد أيضاً أن يحدث ذلك بطريقة أكثر أمانًا، وإليك كيفية التخطيط لتنبيهك في المستقبل.
درجة الأمان في تويوتا باتت مضاعفة

في عالمنا اليوم، دائماً ما نكون منشغلين جدًا لدرجة أننا قد لا نتنبه عما هو أمامنا خلال القيادة. لهذا السبب تأتي السيارات الآن بالكثير من أنظمة الأمان مثل الرادارات والكاميرات والتي من المفترض أن تساعدنا في الابتعاد عن المشاكل والحوادث المرورية أثناء التنقل على الطرقات.
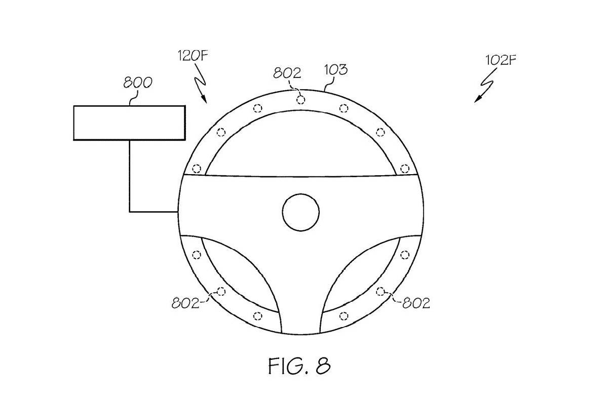
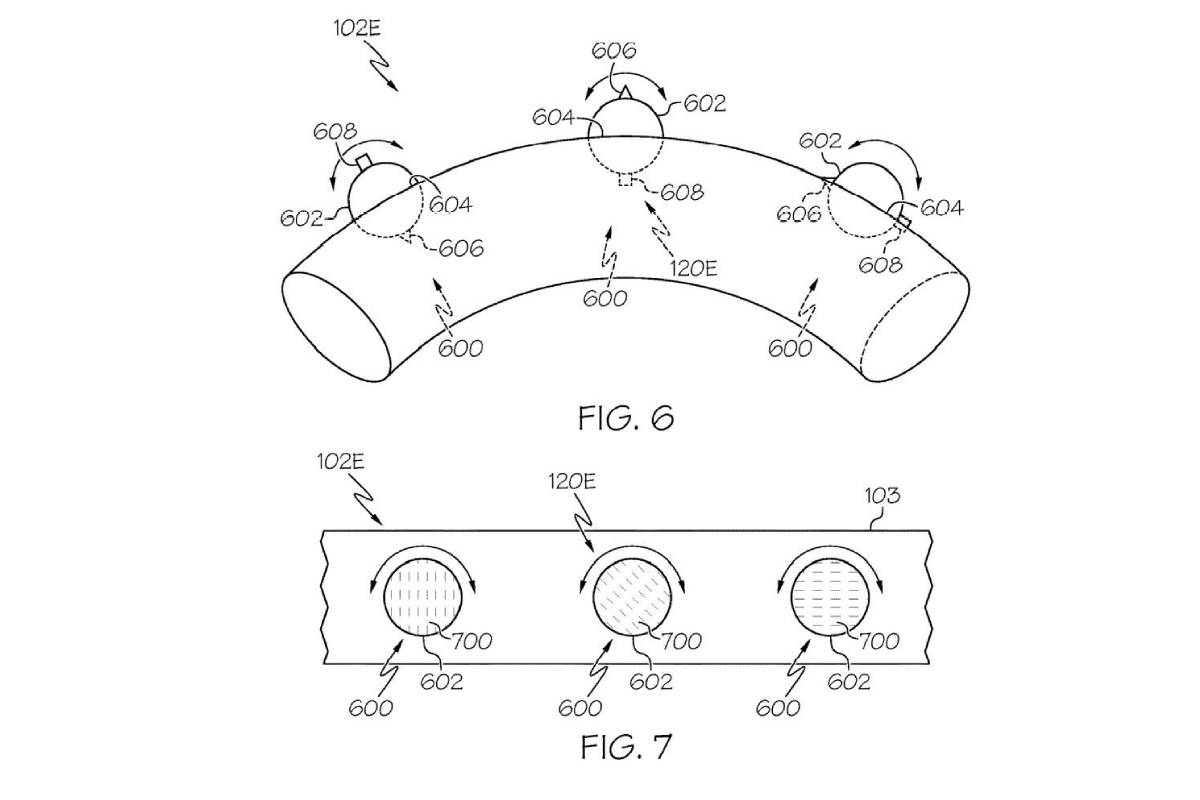
لكن شركة تويوتا اليابانية تريد أن تضاعف من درجة الأمان في سياراتها وذلك من خلال إضافة عجلة توجيه جديدة يمكن أن تحذرك من المخاطر التي قد تواجهك على الطرقات. بشكل أساسي، تتطلع تويوتا إلى إضافة نقاط ضغط محددة على عجلة القيادة يمكن أن تنتفخ بسرعة في حالة اكتشاف أنظمة السيارة لسلوك غير عادي أو حركة يمكن أن تتسبب في وقوع حادث، مثل تغيير الممرات من دون التأكد من خلو الطريق أولاً. يمكن أن تصبح هذه التقنية حلاً مميزاً لتحذير السائقين من النتائج الخطرة التي يمكن أن تطالهم.
تقنية تحمي السائق بالتأكيد

يشدد مكتب براءات الاختراع والعلامات التجارية في الولايات المتحدة على الحاجة إلى وجود أنظمة محسّنة بهدف السماح للمركبة بالتدخل من خلال عجلة القيادة لضبط عملية توجيه السيارة من دون الإضرار بالسائق أو تشتيت انتباهه.
قد يبدو هذا مملًا للحظة، ولكن إذا سبق لك قيادة سيارة مرسيدس-بنز مع تشغيل ميزات المساعدة، فسوف تدرك مدى فائدة امتلاك عجلة قيادة سريعة الاستجابة، من هنا من المستحيل على السائق تغيير المسارات بشكل غير متوقع، ليس فقط بسبب صدور أصوات في المقصورة، ولكن بفضل ظهور إشارات تحذير حمراء على لوحة القيادة، وتشغيل إنذار محدد، من هنا ستوجهك السيارة إلى المسار الصحيح مرة أخرى أثناء الضغط بلطف ولكن بسرعة على دواسة الفرامل ولمدة ثانية واحدة.
تقنية ننتظرها في سيارات تويوتا

قد يكون وجود عجلة قيادة تنتفخ في بعض النقاط المحددة هو الخيار الأفضل لتنبيه السائق بأن خطأ على وشك الحدوث من هنا سيتعين علينا رؤيتها عمليًا قبل اتخاذ قرار بشأن قابليتها للاستخدام. إن تويوتا مع محاولتها الحصول على براءة اختراع لفكرتها الغريبة جدًا مع تغيير مقدار الاحتكاك بين يدك وعجلة القيادة للمساعدة في منع السيارة من القيام بمناورة خطيرة، أمر ضروري للحفاظ على سلامة السائق والركاب في آن معاً.
اقرأ أيضاً: تسلا تذلّك داخل سيارتك: ممنوع اللعب بالمقعد من الآن فصاعدًا