في عصر يتحول فيه صانعو السيارات تقريبًا إلى محركات هجينة، لا تزال شركة هوندا تبحث عن راحة عملائها في المستقبل. تحاول هذا العلامة التجارية اليابانية المعروفة إصلاح مشكلة أراد الكثيرون حلها حتى الآن، وهي صنع نظام تعليق يعمل بالطاقة الكهربائية لن يتوقف عن العمل حتى عندما يكون تحت ضغط كبير.
جودة ركوب افضل

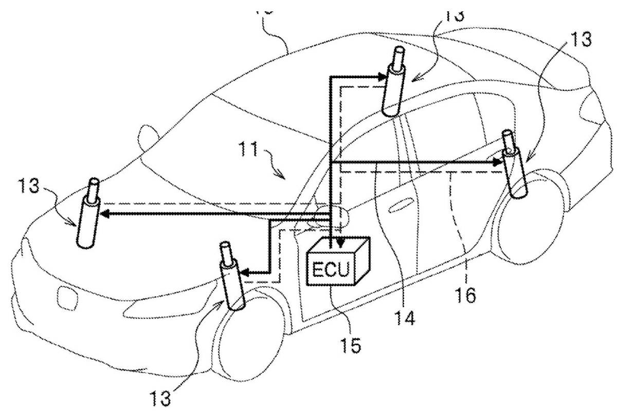
يُظهر مكتب براءات الاختراع والعلامات التجارية في الولايات المتحدة USPTO الكشف عن محاولة شركة هوندا العمل على تقديم نظام تعليق محسّن. يستخدم هذا النظام الكهرباء والمحركات والمغناطيس وأجهزة الكمبيوتر والمكونات الأخرى ذات الصلة مثل مستشعرات التردد أو درجة الحرارة. الهدف من هذه التكنولوجيا هي تحقيق ظروف عمل مناسبة خلال القيادة لاسيما في بيئات ذات درجات حرارة عالية.
في الأساس، تريد هوندا التأكد من أن أحدث نظام تعليق يعمل بالطاقة الكهربائية يمكنه التحكم في الاهتزازات للسيارة ومن دون المساومة على جودة الركوب، حتى عندما لا يستمتع السائق بأخذ فترات راحة في كثير من الأحيان.
تقنية مريحة خلال القيادة

لتحقيق هذه الحالة القصوى من الكفاءة والموثوقية، اتخذت شركة صناعة السيارات اليابانية الحل، يشتمل هذا الجهاز الجديد الآن على مشغلات كهرومغناطيسية ومحركات كهربائية وأجهزة كمبيوتر ومكونات أخرى ذات صلة ليست جديدة تمامًا. الأمر المثير للاهتمام هنا هو أن شركة هوندا أنشأت آلات صغيرة يمكنها حساب كل قوة امتداد أو انكماش ممكنة لجعل السيارة مريحة قدر الإمكان.
هل سنشهد هذا الاختراع في السيارات؟

تقول شركة هوندا أن هذا الاختراع لن "يزعج سلوك السيارة" بفضل قدرتها على أداء التحكم في الاهتزاز حتى في الحالات التي تكون فيها درجة الحرارة مرتفعة للغاية بالنسبة للمحرك الكهربائي المدمج في المشغل الكهرومغناطيسي.
أخيرًا، يجب أن نتذكر أن براءة الاختراع ليست ضمانًا للإنتاج. يمكن لشركة السيارات أن تختار تنفيذه كما هو موصوف أو بمجرد استخدام بعض أجزاء هذا النظام الجديد لتحسين البعض الآخر جزئيًا.
إذاً في زمن لم يعد ممكناً على شركات السيارات ان تبقى بعيدة عن التطور التكنولوجي، كان من الطبيعي على شركة هوندا ان تقدم على تزويد سياراتها بتقنيات أكثر من راعة من شأنها إراحة السائق إلى اقصى الحدود.
اقرأ أيضاً: سيارة كلاسيكية من بونتياك تعتبر ابرز المركبات العضلية على الاطلاق