تسعى شركة جنرال موتورز إلى ان تكون الأفضل على الساحة العالمية، لذلك تقوم وباستمرار بتقديم الكثير من الأمور المميزة في مركباتها بهدف جذب أكبر عدد من الأشخاص إليها، كما أنه وفي الفترة الأخيرة زادت نسبة مبيعات سياراتها بفضل اختراعاتها المميزة والفريدة.
ذكاء جنرال موتورز

واليوم ارتأت شركة جنرال موتورز أنه من الرائع تقديم أمور مميزة لمركبات البيك أب الخاصة بها. إذاً أظهر زوج من براءات الاختراع لشركة جنرال موتورز أنظمة صناديق شحن قابلة للتمديد في مركبات البيك أب. يمكن لمثل هذه الميزة أن تمنح السائقين سعة تحميل أكثر من خلال جعل الصندوق الخلفي أطول عندما يحتاجون إلى هذا الأمر، مع الحفاظ على المساحة الصغيرة لشاحنة البيك أب خلال بقية الوقت.
أول اختراع

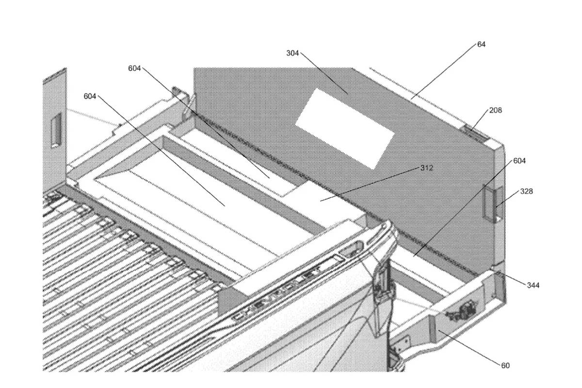
تم تسجيل الاختراع الجديد الأول والذي حمل عنوان "نظام تمديد صندوق مركبات البيك أب الصغيرة" في مكتب براءات الاختراع والعلامات التجارية بالولايات المتحدةUSPTO في 12 مارس. وقد قالت جنرال موتورز أن اختراعها الجديد يقدم صندوقاً خلفيًا قابلاً للتمديد لتصبح منطقة الشحن بطول 8 أقدام (2.43 متراً).
أما في ما خص التصميم، فسوف ينزلق الباب الخلفي والأرضية نحو الخلف لإطالة منطقة الأمتعة، كما وسيظهر جدران جانبية لإحاطة المنطقة الواقعة بين الباب الخلفي وجانبي صندوق الأمتعة بالكامل.
الاختراع الثاني

وفي 27 فبراير، نشر مكتب الولايات المتحدة للبراءات والعلامات التجارية أيضًا طلب براءة اختراع لشركة جنرال موتورز بعنوان "شاحنة تمتلك صندوقًا قابلاً للتعديل ديناميكيًا". في هذا الإصدار، تم تقسيم الصندوق إلى قسمين علوي وسفلي، مع تثبيت القسم السفلي على هيكل المركبة، في حين أن القسم العلوي قادر على التمدد لإنشاء صندوق شحن أكبر.
الحرب المفتوحة

جنرال موتورز ليست شركة صناعة السيارات الوحيدة التي تعمل على هذه الفكرة. قدمت شركة فورد أيضاً الكثير من طلبات براءات الاختراع لصناديق شاحنات البيك أب القابلة للتمديد، من خلال الأرضية المنزلقة وصندوق الشحن الداخلي الذي يتجه نحو الخارج، كما وقدمت أيضاً فكرة وضع درجات مدمجة في الصندوق لتسهيل الوصول إلى البضائع.
لذلك، مع اشتراك جنرال موتورز وفورد بالفعل في حرب الباب الخلفي لمركبات البيك أب ربما تكون الصناديق القابلة للتمديد هي المرحلة التالية التي سوف تشهد منافسة بين الشركات السيارات الأمريكية.
اقرأ أيضاً: جنرال موتورز تطلق خدمات أونستار الريادية في المملكة العربية السعودية