طائرة من بورشه؟ نعم، قرأت العنوان صح، فبعد السيارات الكهربائية، يبدو أن السيارات الطائرة ستكون محط تركيز العلامة الألمانية للسيارات الرياضية الفاخرة.
كيف نعلم ذلك؟
اولاً، كشفت بورشه منذ فترة عن تعاونها مع شركة بوينج الأمريكية المخصصة بصناعة الطائرات.
ثانياً، ظهر مؤخراً التصميم الأولي لطائرة بورشه من خلال براءة اختراع قدمتها الشركة إلى مكتب الولايات المتحدة لبراءات الاختراع والعلامات التجارية في 2 يوليو 2019، قبل أن يتم نشرها يوم 9 يناير 2020.

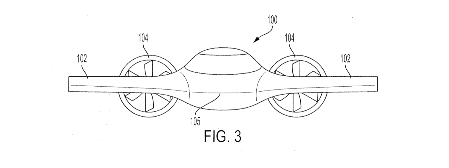
يصف التصميم المؤلف من رسومات بسيطة مركبة طائرة تستطيع الإقلاع والهبوط عمودياً، حيث تظهر مع أربع مراوح دفع كبيرة، لتأتي على شكل درون ضخم.
المراوح الأمامية تواجه الأرض، أما المراوح الخلفية، فيمكنها أن تواجه الأرض، كما يمكنها أن تتحرك 90 درجة لتكون مواجهة للخلف، وتساعد بذلك في دفع المركبة الى الأمام، مع وجود مقصورة صغيرة مغطاة بزجاج شفاف تكفي لشخصين.

هذا وقد أشارت براءة الاختراع أيضاً إلى أن المركبة الطائرة ستعمل بمحركات كهربائية، وهو ما يشير إلى أن العمل على تقديم مركبة كهربائية طائرة اختبارية يسري في الاتجاه الصحيح.
اقرأ أيضاً: رولز رويس تريد صنع التاريخ مع هذه الطائرة... اليك كيف