يُعد المهندس السويدي كريستيان فون كونيجسيج، الرئيس التنفيذي لشركة كونيجسيج، أحد أعظم العقول متعددة المواهب في صناعة السيارات. سيجد معظم المهندسين أن تطوير إنتاج السيارات الخارقة وسيارات مازدا إم إكس-5 مياتا للقيادة اليومية أمرٌ مُحفزٌ بما فيه الكفاية؛ فقد حطمت سيارة سادير سبير من كونيجسيج الرقم القياسي الذي حققه تشينجر في تسلق جودوود هيل في وقت سابق من هذا الشهر. لكن فون كونيجسيج ليس مثل معظم المهندسين. ولا تقتصر اهتماماته على عالم السيارات.
مع نفاد جميع سيارات كوينيجسيج حاليًا، يبدو أن فون كوينيجسيج وجد بعض الوقت لاستكشاف وسائل أخرى للنقل عالي السرعة. من خلال إجراء عمليات بحث إلزامية عن براءات اختراع شركات صناعة السيارات، اكتشف موقع كار باز براءة اختراع جديدة مسجلة لكريستيان فون كوينيجسيج في يونيو - لطائرة مستقبلية.
كريستيان فون كونيجسيج يحصل على براءة اختراع لتصميم طائرة

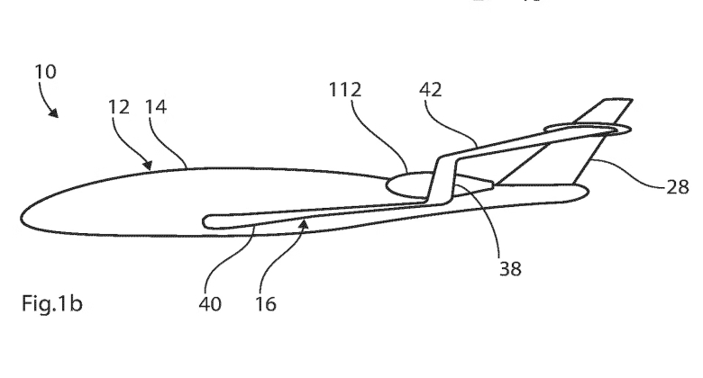
هذا صحيح. براءة الاختراع التي حصل عليها فون كونيغسيغ هي لطائرة ذات أجنحة مغلقة. ببساطة، أجنحة الطائرات التقليدية بها عيب واضح: أطراف الأجنحة تُنشئ مقاومة هوائية. يلتقي الهواء ذو الضغط المنخفض والضغط العالي في نهاية الجناح. ينتج عن هذا التقاء هواء حلزوني ومضطرب، مما يُنتج المقاومة. تحل الطائرة ذات الأجنحة المغلقة هذه المعضلة بعدم وجود أطراف أجنحة.
في تصميم طائرة فون كونيجسيج، ينزل الجزء الأمامي من الجناح من جسم الطائرة، ويدور بسلاسة مع نزول قسم الجناح الآخر من الذيل. يمكن لسلسلة من المحركات والقضبان في الأجنحة أن تُثني أجزاءً من الجناح. سيعمل القسم البديل من الجناح كدعامة طبيعية لتوفير ثبات مُحسّن.
من الناحية النظرية، سيكون تصميم طائرة فون كونيجسيج أكثر كفاءة من الناحية الديناميكية الهوائية بشكل كبير، مما يسمح للطائرات بالسفر لمسافات أطول أو، بدلاً من ذلك، استهلاك وقود أقل. تقدر الإدارة الوطنية للمحيطات والغلاف الجوي (NOAA) أن الطيران مسؤول عن حوالي 3.5% من تغير المناخ. وسيكون تحسين كفاءة السفر الجوي أحد تحديات الاستدامة الرئيسية طوال هذا القرن. تشير براءة الاختراع أيضًا إلى أن التصميم سيسمح للطيار بتوجيه الطائرة وتكييفها لمراحل طيران مختلفة (الإقلاع والهبوط والطيران) دون استخدام أجنحة تقليدية.
لا تتوقع أن يصل تصميم طائرة فون كونيجسيج إلى شركات الطيران التجارية في أي وقت قريب

كما هو الحال في عالم السيارات، يُعد وجود فكرة رائعة جزءًا من المعادلة. غالبًا ما يكون التحدي الأكبر هو إدخال تلك الفكرة الرائعة إلى الإنتاج. ومن الصعب أن نرى فكرة فون كونيجسيج جاهزة للتطبيق العملي الفوري في صناعة الطيران.
سيحتاج المُصنِّع التجاري الذي يستخدم تصميم فون كونيجسيج إلى القدرة على إنتاج التصميم المعقد، أي المعدات المتخصصة. بعد ذلك، سيتعين على المُصنِّع معرفة كيفية إنتاجه بشكل متكرر وبتكلفة فعالة، والقيام بذلك بطريقة تلبي معايير السلامة الصارمة المطلوبة لتنفيذ التصميم في الطيران التجاري والمدني. سيكون التحدي هائلاً. وبينما تعالج تصاميم الأجنحة المغلقة مقاومة طرف الجناح، إلا أن هناك بعض التنازلات الملحوظة فيما يتعلق بالكفاءة والقدرة على المناورة. ولكن إذا كانت هناك شركة على استعداد للتجربة، فإن فون كونيجسيج ليست غريبة على السير عكس التيار.
إقرأ ايضاً: تم بناء هذه النسخة المقلدة من كوينيجسيج يسكو باستخدام محرك تويوتا بقيمة 100 دولار