قدمت لنا بي ام دبليو أول منصة شحن لاسلكي للسيارات الكهربائية في عالم، فالفكرة ليست جديدة... ولكن الشركة نفسها تعمل على تطوير منصة أخرى للدراجات الكهربائية، وتعمل بطريقة مختلفة تماماً.
استندت تقنية بي ام دبليو المطورة للسيارات على منصة شحن توضع على الأرض ثم يقوم السائق بقيادة سيارته لتقف أعلاها، من دون وجود اتصال مباشر بين المنصة والسيارة، وهو ما أدى إلى قلة كفائتها بالشحن وبطئ سرعتها.
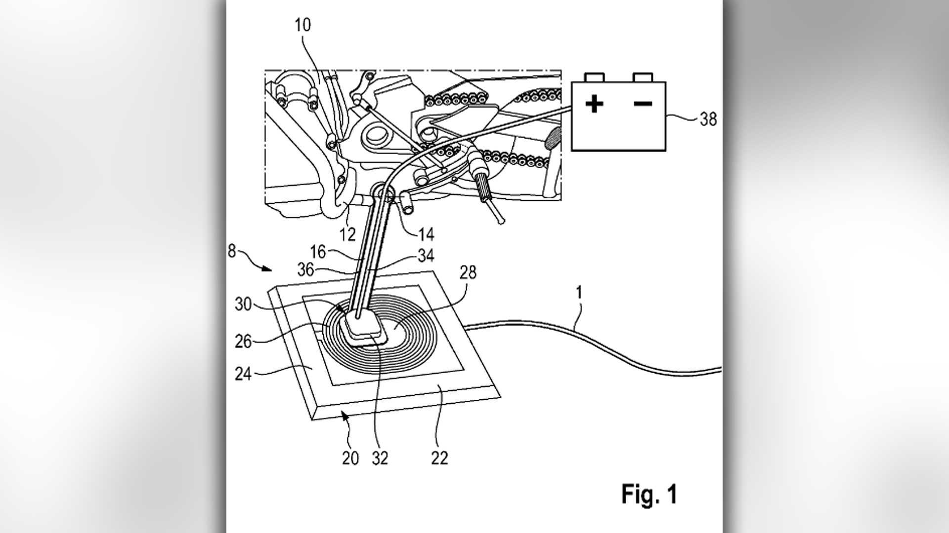
ولكن حسب براءة الاختراع الأوروبية المنشورة بتاريخ نوفمبر 2019، تفكر بي ام دبليو بتطوير الشحن اللاسلكي بشكل مختلف تماماً، حيث ستكون منصة الشحن اللاسلكية متصلة بشكل مباشر بالدراجات الكهربائية هذه المرة عبر مسند الدراجة أو السكوتر.

هذا ويشير ذلك، إلى أن المسند المسؤول عن توقيف الدراجة أثناء ركنها سيضم بداخله توصيلات كهربائية ترسل الشحن الكهربائي من منصة الشحن إلى البطارية، وهو ما سيزيد الكفاءة بشكل واضح مقارنة بالشحن اللاسلكي غير المباشر الخاص بالسيارات.
هذا ويذكر أن بي ام دبليو تعمل حالياً على دراجة كهربائية جديدة كلياً، والتي لا تزال في مراحل التطوير الأولى، ولكن من المتوقع أن تكون هي الطراز المستخدم لتقديم تقنية الشحن اللاسلكي للدراجات الكهربائية.
اقرأ أيضاً: دراجة كهربائية جديدة أسرع من كمارو SS