تواجه هارلي ديفيدسون تراجع ملحوظ في قدرتها على جذب العملاء الجدد مع تقدم قاعدة معجبيها بالسن، ولكنها قررت أن تقدم حل مميز لذلك عبر ابتكار فريد من نوعه، وهو نظام موازنة تلقائي للدراجات النارية يساعد المبتدئين بركوب الدراجات.
اقرأ أيضاً: لماذا يقوم بعض سائقي الدراجات بزيادة الضغط على المحرك أثناء التوقف؟
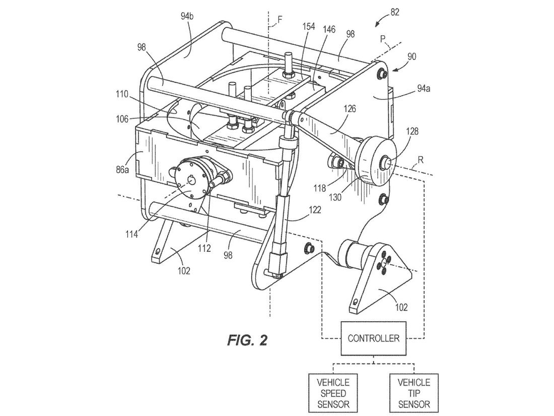
نظام موازنة في دراجات هارلي
قامت هارلي ديفيدسون مؤخراً بطلب تسجيل براءة اختراع لدى مكتب الولايات المتحدة الأمريكية لبراءات الاختراع والعلامات التجارية، وهو عبارة عن مستشعر جيروسكوب، شبيه بطريقة عمل مستشعر التوازن في الهواتف الذكية لتغيير وضعية الشاشة تلقائياً للوضع الأفقي أو الرأسي، لكنه مستشعر أكثر تعقيداً يمنع الدراجة من السقوط لأحد الجانبين بالسرعات المنخفضة.
.jpg)
تتضمن براءة الاختراع وصف لنظام استشعار متقدم للغاية يشبه المستشعرات المستخدمة في مكوك فضاء أبولو المخصص لمهمات استكشاف القمر سابقاً والمسؤول عن الملاحة في الفضاء الخارجي.
يتكون مستشعر جيروسكوب ذاته من دولاب موازنة ثقيل قادر على الدوران بسرعة تتراوح ما بين 10,000 إلى 20,000 لفة/دقيقة عبر محرك كهربائي مثبت داخل محورانية تسمح للدولاب بالتحرك بشكل أفقي ورأسي، مما لا يؤثر على سلوك الدراجة ذاتها.
.jpg)
وعلى السرعات المنخفضة جداً التي تقل عن 5 كم/س، يعمل الجيروسكوب على موازنة الدراجة من خلال تفعيل عمود التعشيق أو القابض كي يتم تعديل وضعية النظام المحوري الداخلي المتصل بكمبيوتر يقوم بعدد مذهل من العمليات كل ثانية ليمنع الدراجة من السقوط على أحد جانبيها، حيث يتطلب ذلك قدر بسيط من القوة لتفادي بدء سقوط أو ميل الدراجة.
هذا ويفيد ذلك النظام أي سائق دراجة هارلي مبتدئ، إضافة إلى سائقي الدراجات كبار السن القلقين من عدم امتلاكهم قدر كافي من قوة الأقدام للتحكم بالدراجة على السرعات المنخفضة.
ومن أهم مميزات النظام هو أنه قابل للتركيب على أي دراجة، وليس مدمج داخلها، رغم أنه من غير المؤكد بعد وصول التقنية الجديدة إلى خطوط الإنتاج قريباً.