يبدو أن فورد تختبر تصميم سيارات جديد كلياً، حيث سجلت صانعة السيارات الأمريكية براءة اختراع توضح تفاصيله.
اقرأ أيضا: اختراع اول مطبخ متنقل.. على يد شركة سيارات كهربائية
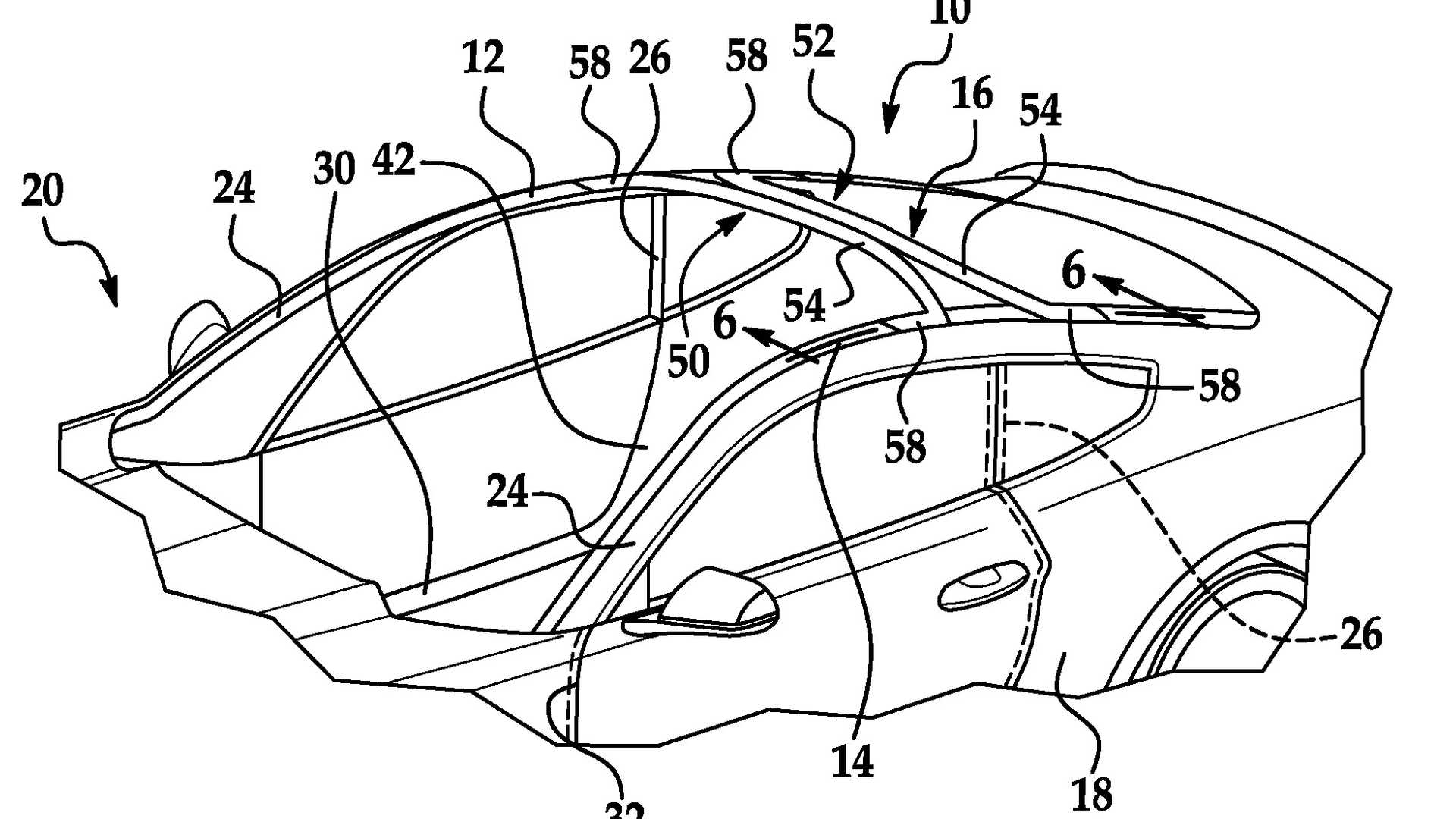
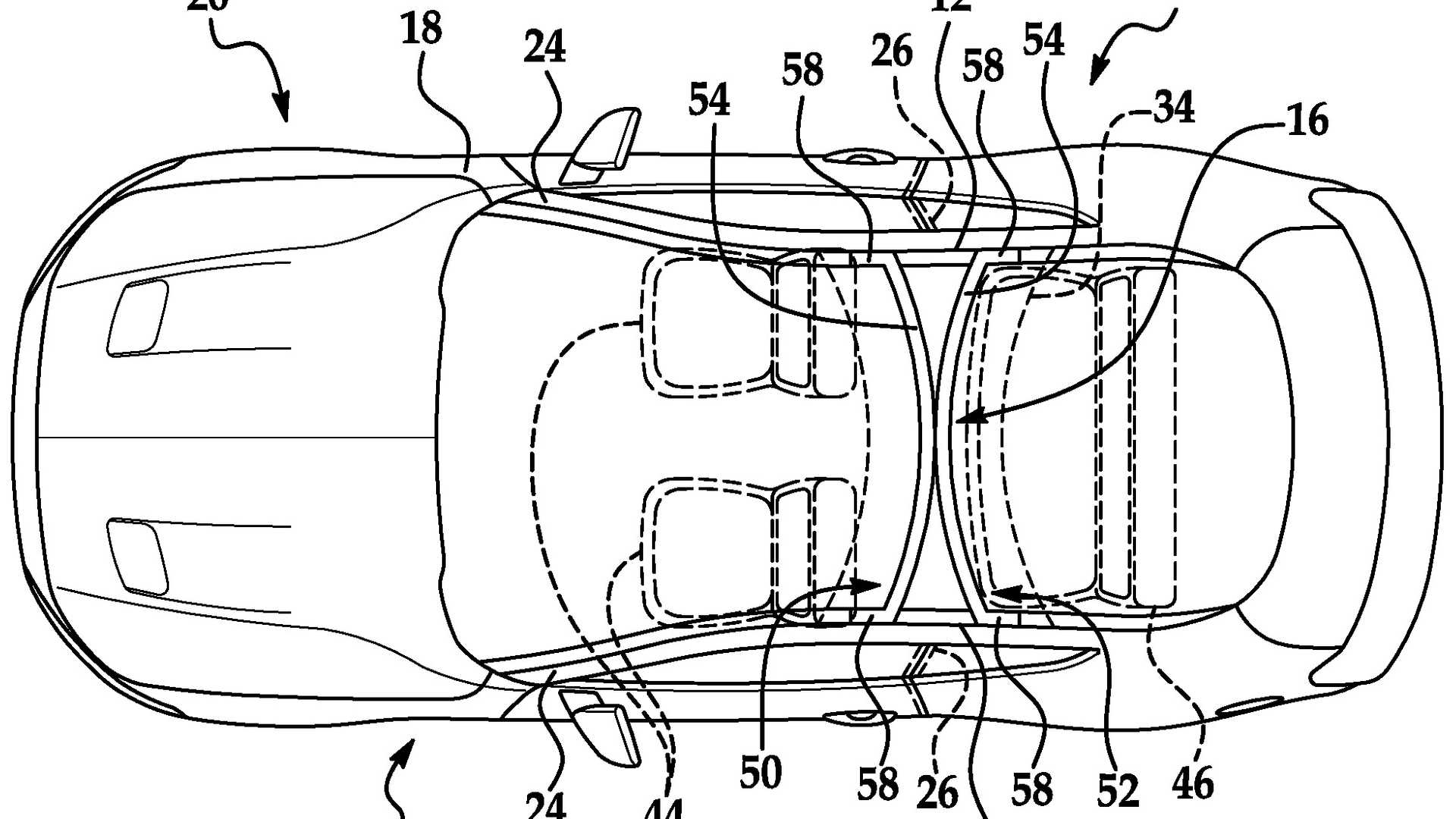
تُظهر الصور مفهوم جديد لسقف السيارات، ويبدو للوهلة الأولى أنه سقف زجاجي بالكامل، وهو أمر ليس غريباً أو جديداً في عالم السيارات، اذ رأيناه في العديد من السيارات الاختبارية، إلا أنه لم يتحول إلى واقع أبداً لصعوبة تنفيذه.

هذا على أي حال قد يتغير، إذ أن السقف الذي تطوره فورد يحتوي قضباناً منحنية في منطقة ضيقة بين الزجاجين الأمامي والخلفي، ما يجعل السقف متيناً تماماً مثل أسقف السيارات التقليدية.
لن يكون ذلك من أجل المظهر الأنيق والمستقبلي وحسب، بل سيوفر أيضاً رؤية وإضاءة أفضل للسائق، ما يزيد من مستوى التركيز أثناء القيادة.

وتؤكد فورد أن تصميم السقف الغريب لن يكون متوفراً على جميع الطرازات، بل سيكون سيقتصر استخدامه على الطرازات الرياضية مثل موستنج، وذلك لأن هيكلتها ستسمح بذلك.
يذكر بأن تونسي الجنسية، محمد رضا بكوش، هو الذي سجّل اختراع السقف الغريب مع فورد، آملين أن نرى تطبيقه على أرض الواقع مستقبلاً، قبل انتشاره على العديد من الطرازات.
