تعد الطاولات القابلة للطي جزءًا مألوفًا في عالم الطيران، لكن يمكن لشركة فورد أن تقدم فكرة مماثلة لسياراتها، لتصبح المقصورة الداخلية الخاصة بها أكثر تميزاً.
الكونسول الوسطي باتت اروع

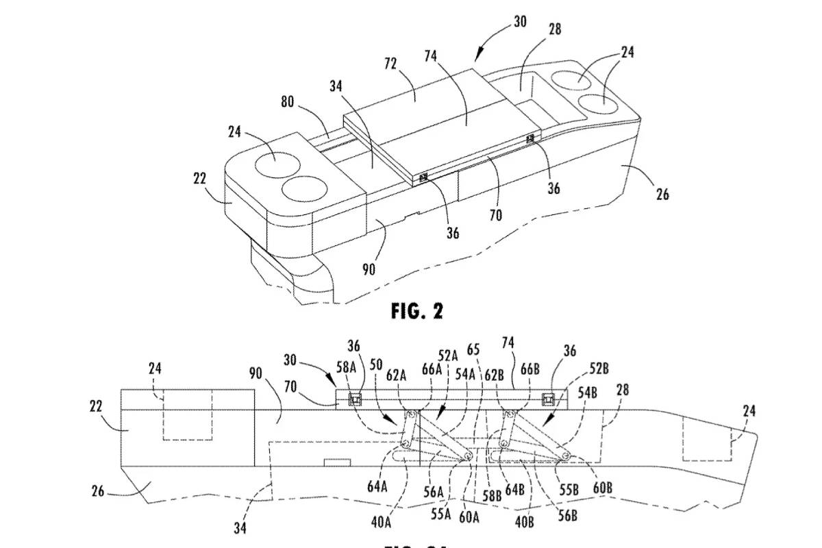
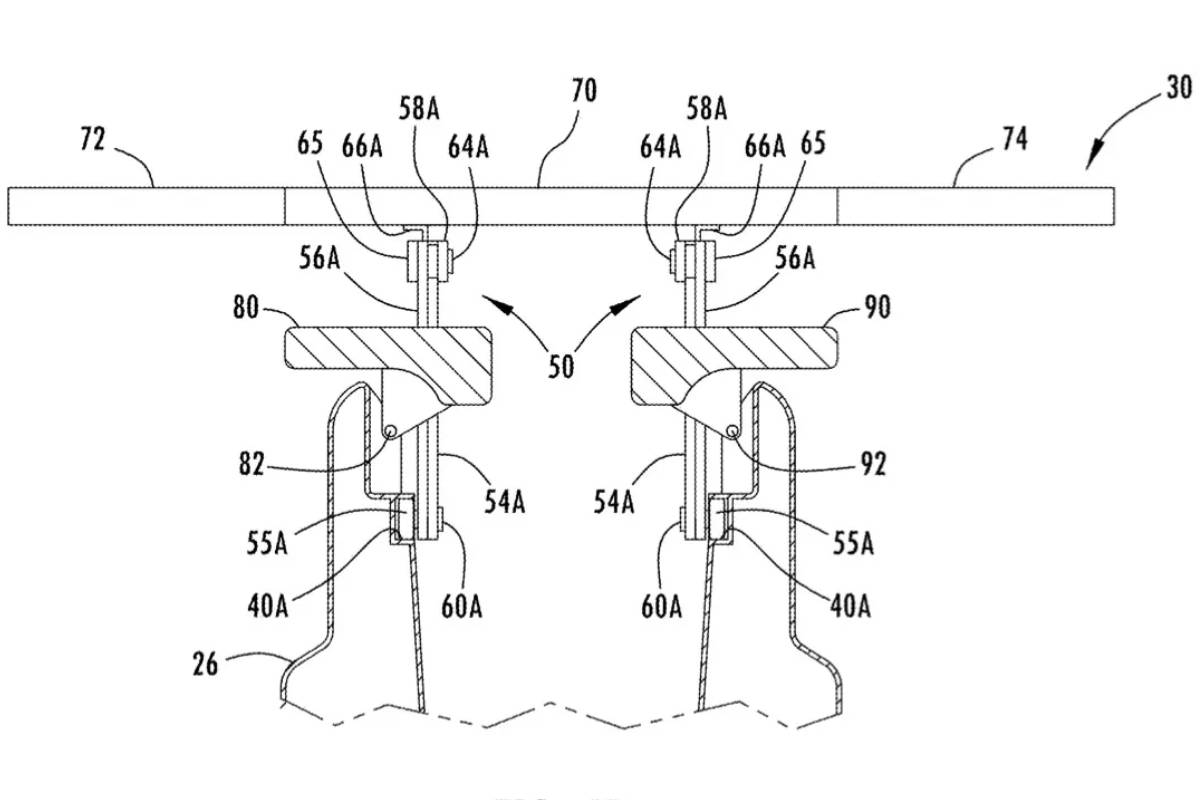
حصلت فورد على براءة اختراع جديد، والذي نشره مكتب براءات الاختراع والعلامات التجارية بالولايات المتحدةUSPTO في 14 مارس، متعلق بطاولات قابلة للطي في الكونسول المركزي للسيارت، هذا وكانت الشركة الأمريكية لصناعة السيارات قد أقدمت على تقديم طلب لبراءة الاختراع في 14 سبتمبر 2022، مع الجداول الخاصة بها والمتعلقة بالكونسول المركزي للسيارة.
وفقاً لبراءة الاختراع، سوف تتشكل الطاولة من غطاء صندوق التخزين في الكونسول المركزي . هذا الغطاء يمكن أن ينزلق للأمام على مسارات محددة له، فتنبثق مفصلات مصممة خصيصًا، ليصبح هذا الجزء أشبه بطاولة يمكن تحريكها بسهولة.
فورد تسهّل حياتك

هذا الاختراع هو واحد من بين الكثير من الأجزاء الداخلية القابلة لإعادة التشكيل والتي صممتها شركة فورد لتسهيل العمل في السيارة. فعلى سبيل المثال، تتوفر شاحنة البيك أب F-150 بالفعل مع ناقل حركة قابل للطي يوفر مساحة على الكونسول الوسطي، إلى جانب أيضاً مقاعد قابلة للطي بشكل مسطح بشكل كلي. لذلك، قدمت فورد طلبات براءة اختراع للكثير من المفاهيم التي تساعد على العمل داخل السيارة.
ظهرت طلبات براءات الاختراع لطاولة متحركة داخل السيارة، إضافة إلى مكتب يظهر بعد طي عجلة القيادة في عام 2023، إلى جانب مجموعة من طلبات براءات الاختراع للتصميمات الداخلية القابلة لإعادة التشكيل التي نشرها مكتب الولايات المتحدة للبراءات والعلامات التجارية في وقت لاحق من العام.
هل تصبح حقيقة؟

لا يتم ضمان أي من هذه الأفكار لتصبح حيز التطبيق في السيارات. لكن العدد الهائل من طلبات براءات الاختراع المتعلقة بإعادة تشكيل التصميمات الداخلية لاستخدامات أخرى غير القيادة يشير إلى أن هذا أمر تسعى شركة فورد إلى تحقيقه.
تعد طاولة الكونسول الوسطي الموصوفة هنا أيضًا واحدة من أبسط الأفكار التي رأيناها حتى الآن، ولا تعتمد على التغييرات في المقاعد أو عجلات القيادة أو التركيبات الأخرى. لذلك قد يكون لديها فرصة أكبر للوصول إلى الإنتاج.
بالتأكيد تسعى فورد إلى جعل المقصورة الداخلية لسيارات أكثر عملية وأكثر رائحة، إلا أنها لن تساوم في موضوع الأمان والسلامة العامة، لذلك لكل براءة اختراع ضوابط تتحكم فيه.
اقرأ أيضاً: عندما صعقت فورد الجميع عام 2000 بسيارتها النموذجية 24.7